行业动态

了解最新公司动态及行业资讯

循环土壤筛分设备的特点

2018-09-08 00:57:35 129 编辑:admin 来源:本站
        目前湿法土壤筛分仍为人工手筛,取塑料盆若干,盆里盛水的高度约为筛子高度的三 分之一,把煤样和清水在玻璃杯内充分混合,然后倒入孔径为0 .045mm筛子内,筛子在盆中。 将盛煤样的筛子在水中轻轻摇动进行筛分,充分筛分,然后再把筛子放入第二盆水中,依次 筛分直至水清为止;另取塑料盆,放入孔径为0 .075mm的筛子中以及合适水量,将孔径为 0 .045mm筛子的筛上物放入孔径为0 .075mm的筛子中,用同样的方法振动筛分,直至水清为 止,同样的方法通过孔径为0 .125mm筛子、孔径为0 .25mm筛子、孔径为0 .5mm筛子分别收集各 粒级煤样进行烘干,烘干后便可依次得到各粒级煤样,这种方法时间长,很容易造成人体劳 累。
土壤筛分 

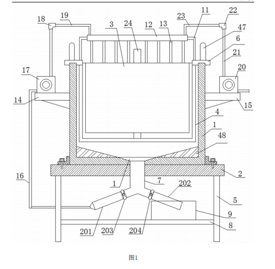
      一种循环土壤筛分设备,包括筛选桶、安装板、筛选组件和机架,所述安装板焊接在机架上端,筛选桶固定在安装板的上部中间位置处,筛选桶内可拆卸的设有定位架,筛选组件设置在定位架上,定位架的上部外侧位置处焊接有六个定位杆,筛选桶上端部设有与定位杆相配合的定位槽,筛选桶的下部中间位置处设有一个三叉管,机架上焊接有支撑板,支撑板上部设有收料盒,三叉管贯穿安装板设置,三叉管的下端连接有左水管和右水管,右水管下端延伸至收料盒内,左水管连接有循环水管,六个定位杆上设有支架,支架上设有环形管,环形管的下表面上连接有喷水管,喷水管延伸至筛选组件内。煤粒筛选及清洗效果好,工作稳定性高,减少水资源浪费。

30

装备制造经验

立即免费获取土壤修复方案

为用户提供及时、高效、便捷的服务

在线咨询
九游会j9环境希望与你携手,共创美好未来...
5